- within Intellectual Property topic(s)
- in Middle East
- in Middle East
- in Middle East
- within Media, Telecoms, IT, Entertainment and Technology topic(s)
While watching the Olympic Games, the focus is on the athletes, the records and the medals, the cameras show us the driving dynamics, the precision of the movements and the emotions of the competition. We rarely consider that behind every Olympic start lies a range of technical solutions, many of which are protected by patents. Skis, bindings, gloves, track and lift infrastructure or training systems are not neutral accessories but the result of many years of development and precise design.
The Winter Games are the largest testing ground for sports technologies. And it is there that it is most clearly visible which solutions really improve safety, aerodynamics, control over equipment or the comfort of the athlete. Every meter of advantage, every fraction of a second and every reduction in the risk of injury matters. For this reason, manufacturers of sports equipment and infrastructure increasingly treat patents as a key element of technological and business strategy.
Many innovations visible on our screens cannot be noticed at first glance. In most cases, patent protection does not focus on the product's eye-catching design or the mere inclusion of electronic components. More often, it covers the sequence of operations, the way components interact, the control logic, or the geometry that dictates specific user behaviour. The simple assumption that we will add a sensor or change a material is very often not enough to not enter into an already existing patent monopoly.
Below, I describe some of the most interesting patents related to skiing, ski jumping and winter sports infrastructure. Explore the technical challenges each of these innovations is meant to overcome.
The Olympic Games are only a starting point, the real game takes place much earlier, at the stage of technology design and building an advantage based on intellectual property.
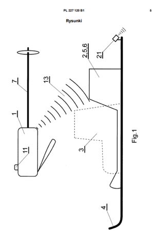
Remote control of ski bindings – PL 227120 B1 (application: 16.01.2015) https://api-ewyszukiwarka.pue.uprp.gov.pl/api/collection/b062f02fd82b1653f567038c3a128421

Polish Patent PL 227120 B1 relates to a remote control system for ski bindings. The starting point for the invention is a well-known problem, i.e. classic ski bindings have a release force set before the ride, statically, based on the weight, height and riding style of the skier. This solution does not consider the changing conditions on the slope or emergency situations while driving.
The solution covered by the patent introduces a system that allows wireless influence on the state of bonds while driving. The key element is that it is not only about disconnecting the bond, but about changing the force of disconnection, and thus adjusting the "sensitivity" of the bond. The system includes a control and transmission unit located in the handle of the ski pole and receiver and control units integrated with the bindings themselves. On the transmitter side, a specific functional sequence is important: a carrier signal generator, a code generator and a modulator, as well as the method of power supply consciously activated by the user. On the bonding side, the signal processing path is protected from the decoder, through the digital adder, to the digital-to-analog converter controlling the actuator affecting the tension of the bonding spring.
The solution variants also provide for the use of a ski speed sensor, which allows you to automatically reduce the release force at low speed. Therefore, patent protection does not cover the "ski remote" itself, but rather the system architecture and the logic behind adjusting the binding parameters in real time.
Heated chairlift – PL 236938 B1 (application: 12.07.2019) https://api-ewyszukiwarka.pue.uprp.gov.pl/api/collection/4e8ab912a1619f2e08a36b5e74dfc026

Polish Patent PL 236938 B1 relates to ski infrastructure, specifically a chairlift equipped with a heating system. The real technical challenge went beyond simply keeping the passenger warm. Earlier solutions faced the lack of stable power supply, the risk of overheating and the dependence of heating and control on a single source of energy.
Proprietary innovation consists in combining several elements into a coherent system. Heating is not conducted by direct contact of the heater with the user, but by air flow in a channel led in the handrail of the chair. The heater is placed in a chamber containing a medium of high heat capacity, which acts as an energy storage. Safety is ensured by bimetallic thermal valves and two temperature sensors, one monitoring the temperature of the medium, the other the tracking the temperature in the hand area.
The separation of power supply is also key from the point of view of the intellectual property (IP) protection potential. The system uses supercapacitors as an energy support element, and the heater and control are connected by controlled keys, which avoids losing control of the system in the event of a discharge. The patent therefore protects the energy and thermal configuration and not the mere fact that "the chair is heated".
Ski simulator – PL 239553 B1 (application: 21.11.2018) https://api-ewyszukiwarka.pue.uprp.gov.pl/api/collection/abec3e3bdadde4b0835581186c078438

Polish Patent PL 239553 B1 relates to a ski simulator designed for individual training. A technical problem that is indicated by the description is that the known simulators do not reproduce the conditions of a real ski turn at high speeds. In particular, they do not allow adequate swinging of the torso and realistic distribution of forces acting on the body.
The claimed solution includes a specific frame structure with an arched track, a trolley and a rotating platform. The essence of innovation is not the mere presence of moving elements, but the way they are interconnected. The foot cradles are connected by rods mounted on a common axis, wherein the rods are slidably mounted in openings of the support frames of a specific shape. In addition, a harness system with elastic fasteners placed at a certain height relative to the user's feet was used.
The patent therefore protects the geometry and mechanics of the system, which allows to generate loads similar to real driving, and not the fact that the device "simulates skiing".
The system of preparation of the inrun track – EP 2876210 B1 (application: 22.10.2014) https://api-ewyszukiwarka.pue.uprp.gov.pl/api/collection/811f944aedb3901bab003b0d2428531e#search=%222876210%22

European patent EP 2876210 B1 relates to the preparation of an inrun track for ski jumping. Traditionally, these tracks were machined mechanically, using heavy milling cutters. These solutions were expensive to maintain and structurally complicated.
The patented system is based on a sleigh moving along the inrun track, equipped with a left and right track preparation device. A key innovation is the use of electric heating skids that remove ice and snow in a thermal way, while making mechanical contact with the track surface. The whole is coupled with an adjustment device that controls the speed of the sleigh movement and the intensity of the thermal impact.
Patent protection thus covers the transition from mechanical "milling" to controlled thermal impact, along with the entire control architecture.
Textile ski slope – EP 3063333 B1 (application: 30.10.2014) https://api-ewyszukiwarka.pue.uprp.gov.pl/api/collection/62b5acdaf7d3f5532806929dc437175d#search=%223063333%20%22

European patent EP 3063333 B1 relates to an artificial textile ski slope. The technical problem was to create a surface that allows you to ski in a way similar to driving on snow, and at the same time it is durable and modular.
The claimed solution uses a fabric with a loop structure, in which the height of the loops and their density fall within strictly defined ranges. However, the key is that the slope has a specific direction of travel, and the orientation of the carcass threads is consistent with it. That is, the sliding behaviour and skiing results from the directional structure of the material, and not only from its composition.
The patent thus protects textile parameters and their functional connection with the movement of the skier.
Ski jumper glove – EP 3932236 B1 (application: 06.01.2021) https://api-ewyszukiwarka.pue.uprp.gov.pl/api/collection/56f2d796f07fae033a1412c802cdcfcf#search=%223932236%22

European patent EP 3932236 B1 relates to a ski jumping glove and solves an aerodynamic problem. In flight, the jumper strives to obtain as much of the supporting surface of the hand as possible, while traditional anatomically cut gloves are limiting in this respect.
The protected solution consists in the use of a two-dimensional cut of the glove, in which the thumb is shaped in an anatomically unnatural way – laterally extended and lying in the same plane as the other fingers before putting on the glove. In addition, the back of the glove is at least equal in length to the inside. As a result, the glove "folds" under the aerodynamics at the moment of flight.
The patent therefore protects not the glove material, but the concept of the typeface as a tool to improve aerodynamic parameters.
Ski binding with magnetic coupling – EP 4 452 429 B1 (application: 02.12.2022)

The latest of the discussed patents concerns a ski binding equipped with a lever cooperating with the skier's calf. The technical problem was to ensure a stable but comfortable contact of the lever with the user's leg, without having to use complicated mechanical clamps.
The proprietary innovation consists in the use of magnetic means of connection between the binding lever and the element worn on the skier's leg, such as a boot, leggings or belt. Both the binding itself and the wearing element are protected, which significantly strengthens the legal position of the entitled person. The essence of protection here is the method of initiating and maintaining the contact of the lever with the leg, and not the mere fact of using a magnet.
Summary
The analysis of these patents clearly shows that in winter sports technologies, patent protection rarely applies to gadgets. These sports innovations are based on sequences of operation, system architectures, geometric and functional relationships and the way the user is affected. It is these elements that make it so that bypassing the patent by simply changing a component, e.g. adding a sensor, another magnet or an application, very often ends in failure.
The content of this article is intended to provide a general guide to the subject matter. Specialist advice should be sought about your specific circumstances.