- within Intellectual Property topic(s)
- within Media, Telecoms, IT, Entertainment and Technology topic(s)
In December 1901, King C. Gillette sent a patent application to the US Patent Office. This invention has changed the face of personal hygiene around the world. The application with the number US 775 134 concerned a seemingly simple idea, namely a thin, replaceable steel blade, clamped transversely in the frame to obtain stiffness. No one then predicted that this one document would become the foundation of an empire worth billions of dollars today.

The epilation industry still uses patents, only today there are laser heads that adapt to the type of skin, heated cartridges with precise heat management and chemical mixtures for pH-controlled epilation. If your company is developing anything in this field and has not yet filed a single patent application, this article is for you.
More than 100 years after his groundbreaking invention of the replaceable blade, Gillette faced a different problem. Moisturizing strips, aloe vera gels, vitamin compositions on shaving cartridges, which did not always work where they should. In a razor, the skin guard – placed in front of the blade – lifts and straightens the hair and tightens the skin surface just before cutting. The problem is that at the same time, this element physically blocks the lubricating fluid from reaching the shaving zone. The moisturizer released from the strip at the front of the cartridge goes to the skin, but the guard stands in its way like a dam. It reached the blade much less than the engineers assume. Compensating for this technical problem by increasing the amount of humidifying fluid has its limits and its costs. In March 2017, the company filed a patent application that approached the problem from a structural rather than a chemical perspective. The solution consisted in redesigning the moisturizing element itself. Instead of a solid contact element, the engineers introduced a flexible component equipped with a network of flow tunnels running through its entire structure, from the front of the cartridge to the back where the blade is located. The lubricating fluid flows through the inside of this element and appears exactly where it is most needed. The flexibility of the element here is as important as the tunnels themselves. The guard has to tighten the skin, so it has to press on it. The flexible structure bends with the skin, maintaining the patency of the tunnels regardless of the angle of the razor and the force of the hand. Skin tightening and fluid transport take place simultaneously, in the same element. In 2020, EP 3 231 564 B1 was granted and includes a flexible contact element with flow tunnels enabling simultaneous tightening of the skin and delivery of lubricant to the blade zone, i.e. a mechanism for combining two functions in one component.

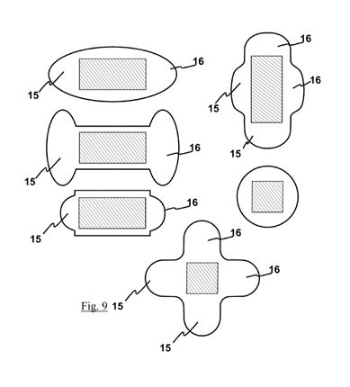
Cosmewax, S.A. faced a problem that at first glance seems trivial. Its engineers wanted to produce an epilation strip in a shape other than a rectangle, anatomically fitted, more convenient to use, better fitting to the body. The finished epilation strip is a three-layer structure containing a support film, a layer of wax and a protective film, which are laminated together into a continuous tape. Production takes place in motion, the belt is moved by the machine, and on the way it must be cut into individual strips. The problem was sticky wax, the cutting die cannot touch it, so the cutting has to puncture the two outer layers and stop exactly in front of the middle layer. In addition, the cut shapes must adhere to each other without loss of material, because waste cannot be removed from the fast moving tape. In practice, this meant one thing, only mosaic forms will be used. Rectangles, diamonds, trapezoids, and not arches or anatomical shapes that would generate impossible to remove remnants. In October 2014, Cosmewax filed a patent application with the European Patent Office. Four years later, in January 2018, patent EP 3 011 858 B1 was granted. The patent protects the method of cutting the depilatory laminate without the layer of adhesive and with the simultaneous collection of waste. Not a specific oval or multi wafer, but the very mechanism that makes it possible. This means that any manufacturer facing the same technical problem will encounter this patent; therefore, to implement such a solution in-house, they will need either to license it from Cosmewax or to develop an entirely different approach to achieve the same goal.

In turn, Braun GmbH faced a problem that the epilator industry has been trying to solve marketing since the 1990s. Each successive generation of devices promised less pain, each ad showed a smiling user, and the reality remained the same. Braun finally decided to solve this problem engineering rather than communicating. The epilator works on a simple principle, i.e. a rotating cylinder with a set of pliers grabs the hair and pulls it out of the onion. The more pliers, the more effective the treatment, but also the greater the pressure of the cylinder on the skin, causing friction and, as a result, pain and irritation. In the classic design, the tear-out cylinder was at the same time an element that directly contacted the skin and took over all the reaction force. The skin was literally pushed into the gripping mechanism, instead of just being touched by it. At the end of 2016, Braun filed a patent application describing a solution that changed this system of forces. The engineers introduced a set of pressure rollers equipped with elastic elements into the head, arranged so that the force exerted by them on the skin exceeds the force of the tearing cylinder itself. As a result, the skin ceases to be a point of support for the plucking mechanism. The friction between the tissue and the forceps decreases, the irritation after the procedure is less, and the user can guide the head faster without a proportional increase in discomfort. The pull-out efficiency remains unchanged, the cylinder still does what it was designed to do, only under better mechanical conditions.

Salvatore Vincenzo Mulè faced a problem that anyone who has ever held a homemade laser hair removal device in their hand knows. The handle is too heavy, too thick and after a few minutes of work it gets unpleasantly warm. This is not the result of a bad design, but the result of physics that no one could reasonably circumvent for years. Home IPL and laser devices work on a simple principle, i.e. the laser diode emits pulses of light that destroy the hair follicles. The problem is that the laser diode at work gives off significant amounts of heat that must be discharged (an overheated diode means a shortened life of the device and a risk to the user). Earlier structures solved this in the simplest possible way, i.e. the cooling systems were mounted directly in the handle, where the diode itself was located. It was logical, but spatially expensive, cooling takes up space, space weighs, the weight of the device causes fatigue of the hand. In July 2020, Mulè filed an application with the European Patent Office, which approached this problem from a completely different side. Instead of placing everything in one housing, he proposed to divide it into two modules, i.e. a separate control unit and a lightweight handle. The key was not the division itself (two-piece devices existed before, but what went to which part). The elements generating the most heat and the systems responsible for its discharge were transferred to the control unit. The handle that the user holds in their hand throughout the procedure, heat and mechanically relieved, could have been lighter, slimmer and more comfortable. In March 2022, patent EP 4 003 507 B1 was granted. The principle of heat load distribution between the modules is protected in such a way that the handle remains ergonomic during operation.

The real innovation is technological, although it is almost invisible to the end user. The product seems simple, but its parameters are based on specific design, material and process decisions, often covered by patent protection. From a thin steel blade at the beginning of the 20th century to modern laser systems with automatic calibration of parameters to the skin type of industries, it has come a long and interesting way. The common denominator is the solution of a clearly defined technical problem. It was not the aesthetics or market communication that determined the breakthrough, but the change in the design, material, geometry, method of production or control of energy. In this context, a patent does not have a marketing function and is an instrument for securing an advantage resulting from a specific technical solution.
The strategic question for manufacturers and constructors today is not whether to patent everything, but which elements of technology actually build a barrier to entry and require conscious protection. They should first be analyzed in terms of patentability and potential collisions with the current state of the art, regardless of whether they concern a chemical formula, a blade system, an applicator design, a laser control algorithm or a manufacturing process.
The content of this article is intended to provide a general guide to the subject matter. Specialist advice should be sought about your specific circumstances.