- within Immigration, Litigation and Mediation & Arbitration topic(s)
- with Senior Company Executives, HR and Finance and Tax Executives
- with readers working within the Automotive, Basic Industries and Insurance industries
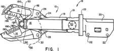
A recent Federal Circuit decision held that a patent directed to a tool attachment for demolition equipment was obvious in view of two prior art references. The court reached this conclusion even though it did not deny that the proposed combination was physically impossible.

In Allied Erecting and Dismantling Co., Inc. v. Genesis Attachments, LLC (Fed. Cir. June 15, 2016), the court reviewed certain claims of the patent, which included various features for attaching and detaching jaw sets from a demolition tool. The Patent Trial and Appeals Board found the patent to be obvious based on two prior patents: one covering a different jaw attachment system, and the other describing a convertible bucket attachment for an excavator.
The patent holder argued that the proposed combination would render the prior art devices inoperable. The court did contradict this assertion. In fact, the court conceded that the combination "may impede the quick change functionality" disclosed in the first patent. Nonetheless, the court agreed with the PTAB and found it to be irrelevant: "it is not necessary that [the prior art] be physically combinable to render obvious the ['489 patent]." The court also quoted a 1983 decision stating that "the criterion [is] not whether the references could be physically combined but whether the claimed inventions are rendered obvious by the teachings of the prior art as a whole."
Notably, the court did not explain how its decision could be reconciled with certain other conflicting precedent. For example, previous Federal Circuit decisions held that if a combination of two references would render one of them unsuitable for its intended purpose, the prior art then teaches away from the combination. In re Gordon, (Fed. Cir. 1984). In fact, in cases as recent January 2016's In re Urbanski, a different panel of Federal Circuit judges held: "[i]f references taken in combination would produce a 'seemingly inoperative device,'... such references teach away from the combination and thus cannot serve as predicates for a prima facie case of obviousness."
The Federal Circuit's conflicting decisions leave open substantial questions about the effect that impossibility and inoperability have on obviousness.
The content of this article is intended to provide a general guide to the subject matter. Specialist advice should be sought about your specific circumstances.
[View Source]